✔ Competitive Pricing ✔ Quality Service ✔ Extensive Stock ✔ Experienced Staff
For Finding eXcellent Tools ..... look no further than Westcountry Machinery 4 Wood 
TREND RT/70x1/2TC Professional Rota-Tip Template Profiler Router Cutter 19.1mm dia x 49.5mm Cut
Product Code: TRERT/70X1/2TC
Brand: Trend
In Offsite Stock - Delivery in 4 to 5 Days
£102.26 Inc. VAT
£85.22 Exc. VAT
✗ COLLECTION
✓ DELIVERY
Please call to check stock availability for larger quantities


Trend Professional Replacement Tip Cutters
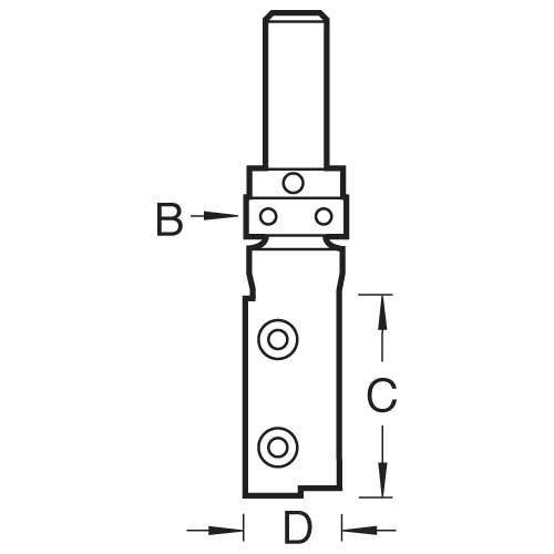
RT/70X1/2TC - Rota-Tip Profiler Router Cutter
19.1mm Diameter x 49.5mm Cut
Key Features
- For template work
- Blade can be rotated 180 degree to give double the life of a conventional tool
- Cutter diameter of 19.1mm and bearing diameter of 19.05mm
- Ref. RT/70 has single flute
Specification
- D: 1 31/32 inch (imperial diameter)
- D: 19.1 mm (metric diameter)
- C: 3/4 inch (imperial cut length)
- C: 49.5 mm (metric cut length)
- B: 19.1 mm (metric bearing diameter)
- A: 90 degrees (angle)
- OL: 100 mm (overall length)
- Shank Diameter: 1/2 inch
- Replacement blade: RB/T, RB/T/10
Related Products & Accessories